“Sáng là rau, chiều là rác” là câu nói vui mà nhiều người vẫn hay dùng để chỉ sự bấp bênh của mặt hàng nông sản khi thiếu công nghệ bảo quản. Mới đây, TS. Phạm Hồng Nam và các cộng sự đã đề xuất một phương pháp mới giúp loại bỏ hiệu quả hơn khí etylen ra khỏi môi trường lưu trữ rau quả, từ đó góp phần kéo dài thời gian bảo quản nông sản.
“Làm sao để nông sản sau thu hoạch giữ được lâu hơn, tăng khả năng cạnh tranh hơn và ít phải đổ bỏ hơn?” là một trong những bài toán nan giải của nông dân và doanh nghiệp Việt lâu nay. Dù trong những năm gần đây đã có một số giải pháp bảo quản hiệu quả ra đời, tuy nhiên “nhiều khi đó lại ‘bí mật kinh doanh’ của từng doanh nghiệp chứ không phải quy trình chung được công bố rộng rãi” để có thể áp dụng, theo lời chia sẻ của chủ một doanh nghiệp trên báo Người Lao Động vào năm 2021. Thế nên câu hỏi về giải pháp bảo quản ấy vẫn vừa là một nỗi trăn trở, vừa trở thành một “nguồn cảm hứng” kích thích các nhà nghiên cứu từ nhiều lĩnh vực khác nhau cùng bắt tay vào tìm hướng giải quyết.
TS. Phạm Hồng Nam và các đồng nghiệp ở Viện Khoa học vật liệu, Viện Hàn lâm Khoa học và Công nghệ Việt Nam cũng không đứng ngoài xu thế ấy. Nhìn rộng ra thế giới, anh nhận thấy, “tại các nước phát triển như: Mỹ, châu Âu, công nghệ bảo quản rau quả tươi đã được nghiên cứu và áp dụng rất rộng rãi. Tuy vậy, nếu đem những công nghệ đó về áp dụng 100% tại Việt Nam thì chi phí đầu tư và vận hành rất lớn, rất khó để phù hợp với điều kiện sản xuất ở trong nước hiện nay”. Thực tế này cũng chính là lý do vào năm 2019, họ quyết định dấn thân vào lĩnh vực nghiên cứu công nghệ bảo quản, dù xuất phát điểm là những nhà nghiên cứu về vật liệu mà trước đây chưa có nhiều hướng đề tài liên quan đến nông nghiệp.

Người dân hào hứng với nông sản tươi ngon. Ảnh minh họa: Báo Người lao động
Khi bắt tay vào nghiên cứu quá trình bảo quản rau củ, bên cạnh các yếu tố cấu thành một công nghệ bảo quản hoàn thiện như quy trình thu hái, yếu tố nhiệt độ, độ ẩm, vi sinh vật, thành phần khí quyển bảo quản (như nồng độ O2, CO2,…), nhóm của TS. Nam chú ý đến khí etylen - một sản phẩm của quá trình chuyển hóa nội sinh trong rau quả tươi sau thu hái. Đây là một hormone tự nhiên thúc đẩy quá trình chín của rau quả tươi, do đó nếu nồng độ etylen trong môi trường bảo quản rau gia tăng, loại khí này sẽ đẩy nhanh tốc độ chín của rau quả và từ đó làm giảm thời gian bảo quản sản phẩm. “Nghiên cứu thực tế trên 23 loại rau quả tươi khác nhau cho thấy, khi duy trì ngưỡng nồng độ etylen trong môi trường bảo quản ở mức 5ppb (tức 0,005ppm), thời gian bảo quản tăng 60% so với nồng độ 0,1ppm - ngưỡng được coi là chấp nhận được đối với một quá trình bảo quản rau củ tươi. Vì vậy, việc kiểm soát khí etylen là một trong những yếu tố quan trọng quyết định thời gian bảo quản. Nếu làm cho nồng độ etylen càng thấp thì thời gian bảo quản càng được kéo dài”, TS. Nam giải thích.
Nâng cao khả năng hấp phụ
Đào sâu hơn vào các công nghệ loại bỏ khí etylen, nhóm nghiên cứu của TS. Nam nhận thấy ba phương pháp chính đang được sử dụng ở trên thế giới hiện nay là: sử dụng chất xúc tác, sử dụng màng vi sinh, và sử dụng các chất hấp phụ - oxy hóa. Phân tích ưu và nhược điểm của các giải pháp này, họ nhận ra, phương pháp sử dụng các chất xúc tác chuyển hóa etylen cho hiệu quả cao song nhược điểm là chi phí chế tạo, vận hành cũng không hề thua kém. Hay ngược lại, nếu sử dụng phương pháp màng vi sinh thì chi phí khá rẻ nhưng hiệu quả bảo quản lại thấp và không ổn định, do sự hoạt động của vi sinh vật phụ thuộc rất khắt khe vào các yếu tố môi trường. “Với phương pháp còn lại là sử dụng các chất hấp phụ - oxy hóa, đây là giải pháp phổ biến nhất do hiệu quả tốt và không tốn nhiều chi phí vận hành”, TS. Nam phân tích.
Tuy nhiên, hạn chế của phương pháp cũ nằm ở chỗ: các chất hấp phụ - oxy hóa trên thị trường hiện nay thường được sử dụng dưới hình thức màng lọc, túi chứa hạt hoặc thiết bị mà lớp hấp phụ ở trạng thái tĩnh. “Do đó, thường chỉ có khoảng 50% chất oxy hóa (ví dụ như KMnO4) tham gia được vào quá trình loại bỏ etylen, khiến cho vật liệu rất nhanh bị đạt đến trạng thái bão hòa và đòi hỏi phải thường xuyên được thay thế. Không chỉ vậy, một nhược điểm nữa của phương pháp này là hiệu quả hấp phụ của vật liệu cũng giảm nhanh trong các môi trường bảo quản có độ ẩm cao”, TS. Nam giải thích.
Xác định điểm mấu chốt và cũng là điểm khó nhất của nghiên cứu nằm ở chỗ làm sao để tăng được hiệu suất sử dụng chất oxy hóa, nhóm nghiên cứu của TS. Nam đã “thử và sai” với nhiều phương án khác nhau và cuối cùng đi đến giải pháp: sáng chế thiết bị theo nguyên lý tầng sôi. “Thiết bị của chúng tôi vẫn sử dụng vật liệu hấp phụ cũ là KMnO4nhưng điểm khác biệt là: thiết bị sẽ thổi dòng khí qua một lớp hạt rắn tại một tốc độ tới hạn, đủ để làm các hạt rắn lơ lửng trong dòng khí đó”, TS. Nam giải thích. Tại sao họ lại lựa chọn nguyên lý này? “Chìa khóa giải quyết vấn đề hiệu suất chính là phải liên tục ‘tái sinh’ vật liệu trong một thiết bị có cơ cấu tái sinh, được thiết kế để đảm bảo tính liên tục của dòng hạt vật liệu. Với nguyên lý này, bản chất của thiết bị là giúp vật liệu hấp phụ loại bỏ được hơi nước bị ‘ngấm’ vào hạt mang xốp sau một chu kì hoạt động, nhờ đó nó có thể giúp cho hơn 90% lượng KMnO4đã được chuyển hóa tiếp tục tham gia vào quá trình loại bỏ etylen, thay vì chỉ 50% như trước đây - có nghĩa là tăng được hiệu suất”, TS. Nam nói.

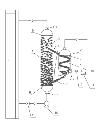
Sơ đồ nguyên lý hoạt động của thiết bị loại bỏ khí etylen.
Cụ thể, mô hình thiết bị loại bỏ khí etylen của nhóm có cấu tạo chính gồm: tháp hấp phụ - oxy hóa dạng tầng sôi; tháp sấy hoàn nguyên (để tăng hiệu quả hoạt động của hạt vật liệu); và hệ thống vận chuyển các hat vật liệu được thiết kế nhằm đảm bảo sự tuần hoàn liên tục của chúng. Để tạo thuận lợi cho quá trình loại bỏ khí etylen, nhóm nghiên cứu đã lựa chọn các hạt vật liệu có dạng cầu và có kích cỡ phù hợp với tốc độ của quạt ở tháp tầng sôi cũng như tương thích với kết cấu của tấm chặn phối khí.
Với cấu tạo này, không khí trong môi trường bảo quản sẽ được quạt hút vào tháp hấp phụ - oxy hóa, sau đó được tấm chặn phân phối khí phân bố đi. Sau khi các hạt vật liệu hấp phụ etylen, chúng sẽ được luân chuyển sang tháp hoàn nguyên thông qua cơ cấu vận chuyển hạt và được tách biệt với môi trường bảo quản. Các hạt này tiếp đó sẽ được sấy khô (hoàn nguyên) và rơi xuống đáy tháp sấy, từ đó đi vào khoảng không phía trên của tấm chặn phân phối khí và chuẩn bị cho chu trình tiếp theo. Đồng thời cũng ở bước sấy này, hơi nước sẽ bị cuốn ra ngoài theo cửa xả khí.
“Nhờ nguyên lý hoạt động này, tốc độ hấp thụ, chuyển hấp thụ và chuyển hóa etylen sẽ được tăng lên đáng kể so với việc sử dụng hạt hấp phụ ở trạng thái tĩnh, hiệu suất hấp phụ sẽ có thể tăng từ 5-7 lần. Ngoài ra, lưu lượng dòng khí lớn cũng sẽ giúp cho thiết bị có thể áp dụng được ở các quy mô bảo quản lớn như các xe container, các kho bảo quản lạnh”, nhóm nghiên cứu chia sẻ về tiềm năng của thiết bị. Và điều đáng mừng là, công nghệ này sẽ có thể được điều chỉnh để áp dụng được ở phạm vi rất đa dạng, từ các loại hoa cho đến các loại trái cây như chuối, xoài, bơ hay các loại rau quả tươi như cà chua, bắp cải,...
Với những điểm mới đó, thiết bị loại bỏ khí etylen do TS. Nam và các đồng nghiệp phát triển đã được Cục Sở hữu Trí tuệ (Bộ KH&CN) cấp bằng độc quyền sáng chế số 1-0030332 vào tháng 12/2021. Trong tương lai, nhóm của TS. Nam sẽ tiếp tục nghiên cứu việc tích hợp hệ thống đo nhiệt độ, độ ẩm, khí etylen,… và ứng dụng công nghệ số để có thể tạo ra một thiết bị hoàn chỉnh và thuận tiện cho những người bình thường cũng có thể dễ sử dụng. Dù chặng đường để trở thành một sản phẩm thực tế ngoài thị trường với thiết bị này có lẽ vẫn còn khá dài do nghiên cứu mới ở giai đoạn đầu và được thực hiện đánh giá trên quy mô phòng thí nghiệm, song nhóm nghiên cứu tin tưởng, nếu sản xuất đại trà, “thiết bị sẽ có thể có giá thành phù hợp với điều kiện ở Việt Nam do sử dụng được ngay những vật liệu đang sẵn có trên thị trường”, TS. Nam chia sẻ về điểm mạnh của công nghệ.
Hạnh St (nguồn:khoahocphattrien.vn)